Product Search  :  Checkout  :  Home  :  Track Your Order
COLEMAN SLA0501512 AIR COMPRESSOR
Items: 0
Subtotal: $0.00
QUESTIONS?

QUESTIONS?

CALL US
Monday-Friday
8am - 5pm Pacific
 
1-877-218-0923
OR
EMAIL US!

support@apwdistributing.com

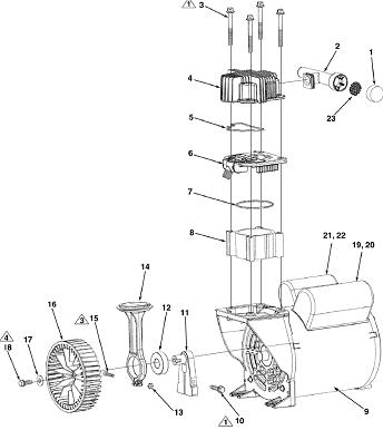
Coleman SLA0501512 Air Compressor Parts, Breakdown, Manual

Coleman SLA0501512 Air Compressor Parts, Breakdown, Manual

PUMP/MOTOR ASSY (SKU: 040-0328)
PUMP/MOTOR ASSY (SKU: 040-0326)
PRESSURE SWITCH (SKU: 034-0164)
UNLOADER (SKU: 136-0064)
TUBE (SKU: 145-0324)
REGULATOR-AIR LINE (SKU: 019-0167)
RELIEF VALVE (SKU: 136-0073)
CHECK VALVE (SKU: 031-0071)
Coleman SLA0501512 Compressor Pump Parts

Coleman SLA0501512 Compressor Pump Parts

HEAD (SKU: 042-0104)
O RING (SKU: 054-0226)O RING (SKU: 054-0226)
O RING (SKU: 054-0225)O RING (SKU: 054-0225)
PISTON / CYLINDER KIT (SKU: 048-0105)
Valve Plate (SKU: 043-0171)Valve Plate (SKU: 043-0171)
FAN (SKU: 027-0033)
FILTER (SKU: 019-0186)
FILTER (SKU: 019-0192)FILTER (SKU: 019-0192)
Copyright © Portable Power Equipment Vancouver, Washington